Приточно-вытяжная установка O.ERRE Тempero 100
Энергосберегающая приточно-вытяжная установка Tempero предназначена для организации воздухообмена в отдельном помещении бытового назначения. В компактном корпусе из белого АБС пластика установлены приточный и вытяжной вентиляторы, полиуретановые фильтры и пластинчатый рекуператор. В холодное время года рекуператор позволяет снизить энергопотребление, необходимое для нагрева приточного воздуха на 70%, а летом сокращает расходы на кондиционирование помещения. На корпусе установки предусмотрен патрубок для слива конденсата, образующегося в пластинчатом рекуператоре. Современный дизайн корпуса и тщательно продуманная конструкция позволяют открыто размещать установку в жилом, офисном или торговом помещении. Для управления работой установки Tempero 100 используется пульт RG E PH, обеспечивающий плавное регулирование его производительности и выключение установки (опция).
Исполнение установки:
Tempero. Стандартное исполнение.
Технические характеристики приточно-вытяжной установки O.ERRE Тempero 100

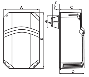
Размеры, мм
| Модель | A | B | C | D | E | F | Ød1 | Ød2 |
| Тempero 100 | 257 | 400 | 155 | 179 | 10 | 50 | 66 | 95 |
Технические характеристики
|
Модель |
Исполнение |
Производит. притока, м3/ч |
Производит. притока, м3/ч |
Напря- жение, В |
Мощ- ность, Вт |
Уровень шума, дБ(А)* |
Вес, кг |
|
Тempero 100 |
Стандартное |
60 |
70 |
230 |
40 |
34 |
3,3 |
* Уровень звукового давления на расстоянии 3 м.
Tempero поставляется с наружной решеткой и ПВХ воздуховодом диаметром 63 мм и длиной 400 мм, который должен быть установлен внутри канала диаметром 100 или 120 мм


